专精特新中小企业
公共服务示范平台
首页
应用中心
数字化方案
登录
|
注册
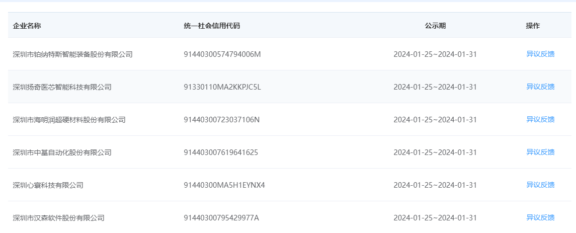
宝安区工业和信息化局2023年股权投资标的企业奖励项目
发布时间:2024.01.25
发布部门:深圳市宝安区工业和信息化局
宝安区工业和信息化局2023年股权投资标的企业奖励项目
原文链接: https://qqzq.baoan.gov.cn/#/publicityNew?currentindex=宝安区工业和信息化局2023年股权投资标的企业奖励项目&gsstatus=first
上一篇:
关于印发连云港市完善税费协同共治体系实施意见的通知
下一篇:
宝安区工业和信息化局2023年知识产权资产证券化补贴项目
更多内容
关于2024年度烟台市科技创新成果竞赛提名工作的通知
于组织申报2025年度苏州市科技攻关项目(关键核心技术攻关和重大科技成果转化)的通知
自治区市场监管厅关于征求《灌溉与排水工程项目建设后评价技术规范》 等9项地方标准意见的通知
南京市关于组织开展元宇宙应用场景需求、元宇宙典型应用案例征集工作的通知
广州市白云区发展和改革局关于公开征求《广州市白云区促进新型储能产业高质量发展若干措施(试行)(修订草案)》意见的公告
关于开展2025年度大连市外国籍高层次人才项目征集申报工作的通知
关于《江苏省城镇管道燃气配气价格管理办法(修订征求意见稿)》公开征求意见的公告
关于发布《2024年重庆市重点工业产品质量安全监管目录》的公告
厦门市工业和信息化局 厦门市财政局关于印发厦门市中小企业发展专项资金使用管理办法的通知
2025年北京市知识产权服务机构提升国际服务质量支持项目
梅州市商务局关于2025年超长期特别国债资金支持梅州市家电“以旧换新”拟补贴名单(第八批)的公示
广州市白云区科技工业商务和信息化局关于拟废止《广州市白云区促进商贸服务业高质量发展的若干措施》的公告
福建省认定机构:福建省科学技术厅福建省财政厅国家税务总局福建省税务局关于取消福建瑞达茶叶有限公司等48家企业高新技术企业资格的通知
关于组织申报2024年青岛市重点产业链高质量发展促进机构奖励资金的通知
厦门市科学技术局关于下达2025年福建省创新战略研究科技计划项目经费的通知
关于2023年中小企业国际市场开拓项目的拟公示
关于组织开展2024年度科技企业孵化器和众创空间绩效评价的通知
市科创局关于组织开展2023年度人工智能创新专项项目验收工作的通知
深圳市光明区人民政府印发《光明区关于推动人工智能和软件信息产业高质量发展的若干措施》的通知
关于2025年度三门峡市科技特派员拟选派名单、科技特派员助力乡村振兴示范基地拟认定名单的公示