专精特新中小企业
公共服务示范平台
首页
应用中心
数字化方案
登录
|
注册
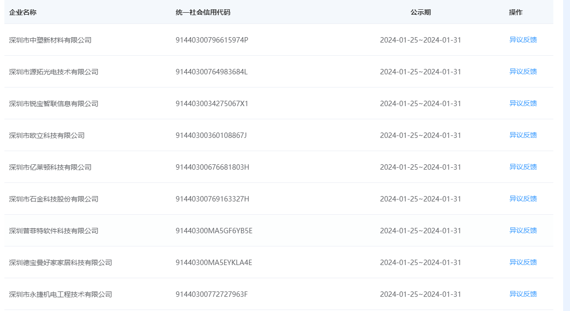
宝安区工业和信息化局2023年知识产权资产证券化补贴项目
发布时间:2024.01.25
发布部门:深圳市宝安区工业和信息化局
宝安区工业和信息化局2023年知识产权资产证券化补贴项目
原文链接: https://qqzq.baoan.gov.cn/#/publicityNew?currentindex=宝安区工业和信息化局2023年知识产权资产证券化补贴项目&gsstatus=first
上一篇:
宝安区工业和信息化局2023年股权投资标的企业奖励项目
下一篇:
深圳市国资委关于印发《关于推动市属国有企业加快财务数字化转型指导意见》的通知
更多内容
北京市丰台区发展和改革委员会关于公开征集丰台区新能源项目安全隐患排查委托服务机构的公告
关于征求《车路云一体化路侧智能基础设施建设指南》等8项北京市地方标准意见的通知
市科技局关于开展2023年度火炬统计调查工作的通知
工业和信息化部 国家标准化管理委员会关于印发国家智能制造标准体系建设指南(2024 版)的通知
关于宣传推广汉中市科技局2025年度科技项目“揭榜挂帅”技术需求解决方案的通知
关于批准发布大棚早春毛豆套种丝瓜栽培技术规程等33项江苏省地方标准的公告
关于公布2025年永州市第十批电动自行车以旧换新活动参与企业名单的公告
关于组织申报2025-2026年度广东省基础与应用基础研究重大项目(基石)的通知
2023年度省科技计划专项资金(创新支撑计划软科学研究)第二批拟立项目公示
北京市体育竞赛管理和国际交流中心关于开展2024年度体育竞赛裁判员注册工作的通知
湖南省关于做好区域性股权市场专精特新专板挂牌企业推荐工作的通知
扬州市关于市本级2024年市级现代农业发展专项(现代种业提质发展)拟立项项目的公示
江苏省住房城乡建设厅关于在全省扩大绿色建造试点工作的通知
2023年度中央专项彩票公益金支持北京市社会公益事业发展资金分配下达和使用情况的公告
关于“创客北京2024”创新创业大赛拟奖励获奖项目的公示
城镇集中供热价格联动与政府定价成本分摊机制课题研究项目成交结果公告
莆田市工业和信息化局莆田市财政局关于印发莆田市2024年省级节能和循环经济专项切块资金申报指南的通知
沈阳市科学技术局关于组织科普类专家征集入库工作的通知
自治区科技厅关于公布第二批广西科技成果评价改革试点单位名单的通知(桂科发〔2025〕383号)
福建省科学技术厅福建省财政厅国家税务总局福建省税务局关于公布福建省2023年度第二批更名高新技术企业名单的通知